设为首页
收藏本站
所有帖子
关于我们
联系我们
微信群
开启辅助访问
搜索
搜索
本版
用户
门户
Portal
资讯
液压资讯
观点
观点
产品
液压产品
技术
液压技术
合集
导读
Guide
下载
签到
金币
论坛
BBS
登录
立即注册
腾讯QQ
账号
自动登录
找回密码
密码
登录
立即注册
只需一步,快速开始
好友
动态
收藏
分享
帖子
日志
记录
相册
留言板
勋章
任务
道具
设置
退出
液压圈
»
论坛
›
液压系统
›
伺服控制
›
DENISON丹尼逊换向阀
负载敏感资料下载
|
液压培训资料下载
|
液压样本下载
|
AMESim资料下载
|
力士乐资料下载
|
挖掘机资料下载
|
标准资料下载
|
多路阀资料下载
返回列表
查看:
4232
|
回复:
7
DENISON丹尼逊换向阀
[复制链接]
swukonghoge
swukonghoge
当前离线
积分
59
注册时间
2013-4-24
最后登录
1970-1-1
IP卡
狗仔卡
发表于 2013-7-1 01:50:25
|
显示全部楼层
|
阅读模式
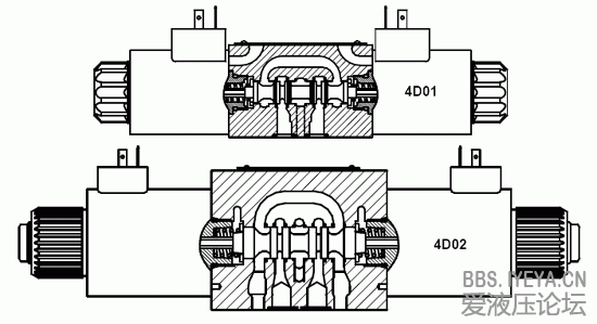
DENISON丹尼逊4D01直控式换向阀是以电磁铁控制的,Cetop为03,最大流量为80 l/min,最大压力为350 bar。javascript:;
接头有三个脚,怎么样接线请大虾指教.
回复
使用道具
举报
提升卡
置顶卡
变色卡
海中游
海中游
当前离线
积分
1172
注册时间
2011-8-11
最后登录
1970-1-1
IP卡
狗仔卡
打卡等级:以坛为家
打卡总天数:822
打卡总奖励:1300
发表于 2013-7-4 10:03:22
|
显示全部楼层
本帖最后由 海中游 于 2013-7-4 10:08 编辑
不知道接线图,只有用万用表测量啦。
如电磁铁的接头还在,3个引脚中高的肯定是接地。其余两个是线圈正负引脚。
如果有指示灯就好办啦,接对灯亮,不对灯不亮。
另外,国际标准插座接线:接地在上,左零右火。
电磁铁可能也遵照此标准。
回复
使用道具
举报
sunjh84757
sunjh84757
当前离线
积分
50
注册时间
2013-4-1
最后登录
1970-1-1
IP卡
狗仔卡
打卡等级:无名新人
打卡总天数:1
打卡总奖励:1
发表于 2013-7-1 20:13:32
|
显示全部楼层
DIN43650插头标准,对侧两针脚接正负极即可
回复
使用道具
举报
woshiwsm
woshiwsm
当前离线
积分
117
注册时间
2013-4-4
最后登录
1970-1-1
IP卡
狗仔卡
打卡等级:无名新人
打卡总天数:1
打卡总奖励:4
发表于 2013-7-1 19:52:32
|
显示全部楼层
接地的吧
回复
使用道具
举报
swukonghoge
swukonghoge
当前离线
积分
59
注册时间
2013-4-24
最后登录
1970-1-1
IP卡
狗仔卡
楼主
|
发表于 2013-7-1 15:22:43
|
显示全部楼层
DENISON丹尼逊4D01实物图片
回复
使用道具
举报
牛克思
牛克思
当前离线
积分
210
注册时间
2012-7-3
最后登录
1970-1-1
IP卡
狗仔卡
发表于 2013-7-1 08:45:08
|
显示全部楼层
三个脚?其中一个是公用接地线,接电瓶负极。另两条各接各一个方向。
回复
使用道具
举报
牛克思
牛克思
当前离线
积分
210
注册时间
2012-7-3
最后登录
1970-1-1
IP卡
狗仔卡
发表于 2013-7-1 08:45:02
|
显示全部楼层
三个脚?其中一个是公用接地线,接电瓶负极。另两条各接各一个方向。
回复
使用道具
举报
swukonghoge
swukonghoge
当前离线
积分
59
注册时间
2013-4-24
最后登录
1970-1-1
IP卡
狗仔卡
楼主
|
发表于 2013-7-1 01:52:37
|
显示全部楼层
还有这个怎么样接?
回复
使用道具
举报
返回列表
高级模式
B
Color
Image
Link
Quote
Code
Smilies
您需要登录后才可以回帖
登录
|
立即注册
本版积分规则
发表回复
快速回复
返回顶部
返回列表