设为首页
收藏本站
所有帖子
关于我们
联系我们
微信群
开启辅助访问
搜索
搜索
本版
用户
门户
Portal
资讯
液压资讯
观点
观点
产品
液压产品
技术
液压技术
合集
导读
Guide
下载
签到
金币
论坛
BBS
登录
立即注册
腾讯QQ
账号
自动登录
找回密码
密码
登录
立即注册
只需一步,快速开始
好友
动态
收藏
分享
帖子
日志
记录
相册
留言板
勋章
任务
道具
设置
退出
液压圈
»
论坛
›
液压元件
›
液压电磁阀
›
电磁阀换向问题
负载敏感资料下载
|
液压培训资料下载
|
液压样本下载
|
AMESim资料下载
|
力士乐资料下载
|
挖掘机资料下载
|
标准资料下载
|
多路阀资料下载
1
2
/ 2 页
下一页
返回列表
查看:
11365
|
回复:
12
电磁阀换向问题
[复制链接]
lxmxjtu
lxmxjtu
当前离线
积分
313
注册时间
2014-4-16
最后登录
1970-1-1
IP卡
狗仔卡
打卡等级:即来则安
打卡总天数:202
打卡总奖励:669
发表于 2017-1-18 10:49:27
|
显示全部楼层
|
阅读模式
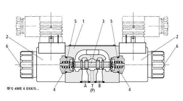
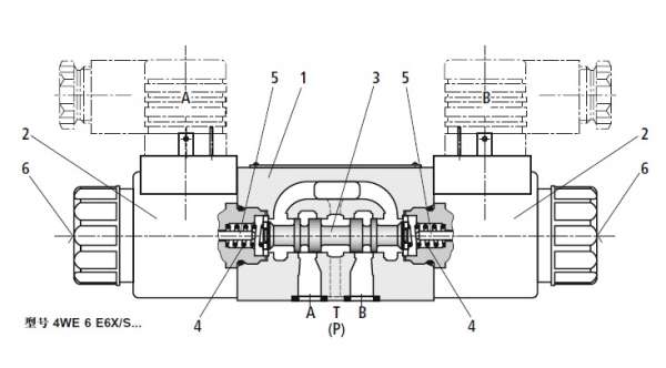
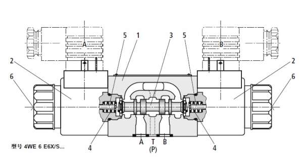
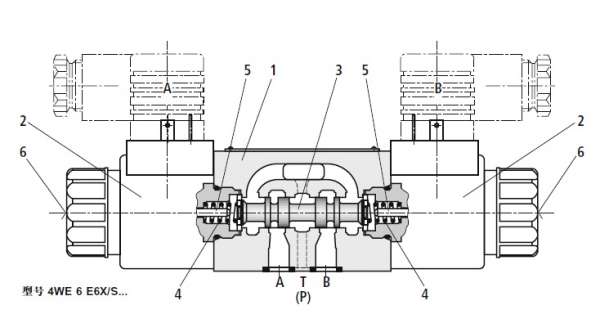
像这种电磁阀,假如说b线圈失电,阀芯在弹簧力作用下,能被推到a位吗?
电磁阀
电磁阀换向问题
相关帖子
.
请问有没有大佬指导小弟怎么在AMESIM做电磁阀仿真
.
液压数字阀
.
电磁阀颤振如何标定?
.
插式电磁方向阀CSV-02-01
.
意大利ATOS液压全系列产品!!有需要的咨询我!咱现货多。
.
求购二位四通球型换向阀
.
谁知道这是电磁阀上的什么配件
.
溢流阀、泄压阀、电磁阀、平衡阀。。。客官要哪个?
.
求购电磁阀插头
.
有没有好一点电磁阀插头
回复
使用道具
举报
提升卡
置顶卡
变色卡
cn_young
cn_young
当前离线
积分
737
注册时间
2012-3-10
最后登录
1970-1-1
IP卡
狗仔卡
打卡等级:无名新人
打卡总天数:12
打卡总奖励:38
发表于 2017-1-18 13:56:10
|
显示全部楼层
一般情况下是回到中位的
回复
使用道具
举报
kangjie007
kangjie007
当前离线
积分
2
注册时间
2017-1-18
最后登录
1970-1-1
IP卡
狗仔卡
发表于 2017-1-18 15:30:03
|
显示全部楼层
像这种电磁阀,假如说b线圈失电,阀芯在弹簧力作用下
回复
使用道具
举报
duanran
duanran
当前离线
积分
173
注册时间
2016-9-8
最后登录
1970-1-1
IP卡
狗仔卡
打卡等级:即来则安
打卡总天数:220
打卡总奖励:642
发表于 2017-1-18 21:37:48
|
显示全部楼层
显然不能萨,弹簧是回位弹簧,而非位移弹簧。
回复
使用道具
举报
mouses
mouses
当前离线
积分
46
注册时间
2015-12-28
最后登录
1970-1-1
IP卡
狗仔卡
打卡等级:偶尔看看
打卡总天数:122
打卡总奖励:391
发表于 2017-1-18 22:27:17
|
显示全部楼层
看结构是三位四通O型的吧,两边都断电以后是弹簧对中的。
回复
使用道具
举报
lxmxjtu
lxmxjtu
当前离线
积分
313
注册时间
2014-4-16
最后登录
1970-1-1
IP卡
狗仔卡
打卡等级:即来则安
打卡总天数:202
打卡总奖励:669
楼主
|
发表于 2017-1-19 08:16:03
|
显示全部楼层
duanran 发表于 2017-1-18 21:37
显然不能萨,弹簧是回位弹簧,而非位移弹簧。
位移弹簧怎么理解
回复
使用道具
举报
duanran
duanran
当前离线
积分
173
注册时间
2016-9-8
最后登录
1970-1-1
IP卡
狗仔卡
打卡等级:即来则安
打卡总天数:220
打卡总奖励:642
发表于 2017-1-20 11:05:03
|
显示全部楼层
也就是说在弹簧的作用下产生位移。从中位到工作位的位移。
回复
使用道具
举报
LSY
LSY
当前离线
积分
22
注册时间
2017-1-13
最后登录
1970-1-1
IP卡
狗仔卡
打卡等级:无名新人
打卡总天数:1
打卡总奖励:4
发表于 2017-1-24 09:32:26
|
显示全部楼层
阀芯两端弹簧基本一样,在电磁线圈不得电情况下阀芯回中位。
回复
使用道具
举报
永喜
永喜
当前离线
积分
9
注册时间
2017-3-25
最后登录
1970-1-1
IP卡
狗仔卡
发表于 2017-3-27 20:58:18
|
显示全部楼层
失电只能复位回到中位,
回复
使用道具
举报
yangqs2004
yangqs2004
当前离线
积分
237
注册时间
2015-10-29
最后登录
1970-1-1
IP卡
狗仔卡
打卡等级:常驻居民
打卡总天数:462
打卡总奖励:1316
发表于 2017-3-28 22:20:30
|
显示全部楼层
回到中位!a线圈得电才会入
回复
使用道具
举报
下一页 »
1
2
/ 2 页
下一页
返回列表
高级模式
B
Color
Image
Link
Quote
Code
Smilies
您需要登录后才可以回帖
登录
|
立即注册
本版积分规则
发表回复
回帖后跳转到最后一页
快速回复
返回顶部
返回列表