- 积分
 - 18
 
 
- 注册时间
 - 2012-8-23
  
- 最后登录
 - 1970-1-1
  
 
 
 
				- 打卡等级:无名新人
 
				- 打卡总天数:1
 
				
				- 打卡总奖励:9
 
				
				  
 
 | 
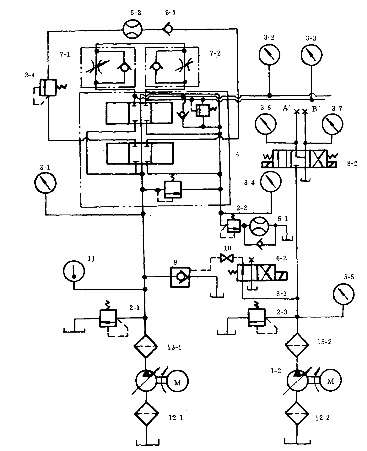
电液比例多路阀 
片式 4 
并联 
控制方式:电液 
负载敏感:阀前补偿(梭阀选择系统最大负载至主溢流阀的先导阀,但未与DR变量泵配合使用) 
供油泵:定量泵 
 
试验参考JB/T 8729-2013 ,增加对电比例流量特性试验 
 
想问:1、片式结构,对内漏 换向性能 电比例流量特性 分片试验,耐压试验是否单片和整体装配后都试? 
      2、此类型多路阀 是否需要做复合动作试验,复合动作试验是否可以参考JB/T 8729-2013 附录A中 试验台改进试验?需要注意哪些? 
 
新人初涉,恳请指点! 
       
 
补充内容 (2014-4-27 22:43): 
修改:阀后补偿。采用JB/T 8729-2013,附录 A2 试验。A1为普通换向阀试验 
 
希望可以多交流! 
 
此贴暂时终结。 
 
补充内容 (2014-5-3 15:48): 
对一个说法的补充 
阀前补偿---阀后节流 
阀后补偿---阀前节流 |   
 
  
 |