搜索
汉力达液压金币充值官方微信群液压资料下载
查看: 3943|回复: 7

初学麻烦各位老师们可以详细的讲一下原理及每个元件在这个系统中的作用!谢谢

[复制链接]
  • 打卡等级:无名新人
  • 打卡总天数:1
  • 打卡总奖励:10
发表于 2014-6-9 12:22:12 | 显示全部楼层 |阅读模式
初学麻烦各位老师们可以详细的讲一下原理及每个元件在这个系统中的作用!谢谢

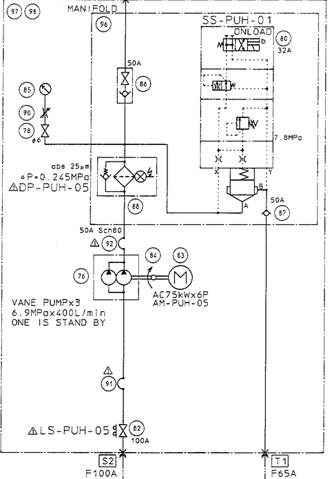
液压原理图

液压原理图
  • 打卡等级:无名新人
  • 打卡总天数:3
  • 打卡总奖励:4
发表于 2014-6-9 13:26:18 | 显示全部楼层
我帮你说明一下:
图中82是一个截止阀,在维修时,关闭它,不需要放空油箱里的油;
91是一段软管;
76是泵
84是联轴器
83是电动机
88是过滤器
86 87是单向阀,作用是防止系统中的液压冲击反向冲击液压泵,主要是保护泵的
主要来讲讲这个80 它是一个插装式溢流阀,图示位置为低压卸荷位置,泵出来的液压油,一路直走到主系统,一路经旁路,到80阀A口,A口分一路出来到插装阀弹簧腔,图示位置,到弹簧腔的油经节流孔到压力补偿器到两位四通阀到回油口,因为节流孔产生压降,插装阀被打开,泵出来的液压油从A进B出,直接回油箱;当系统工作时,两位四通电磁阀打开,此时弹簧腔的压力加弹簧力大于系统压力,插装阀被关闭,系统最大压力由插装阀上的溢流阀确保,图示为7.8Mpa。
讲的有点笼统,个人见解
回复

使用道具 举报

  • 打卡等级:偶尔看看
  • 打卡总天数:66
  • 打卡总奖励:158
发表于 2014-6-9 13:57:20 | 显示全部楼层
本帖最后由 zzfjct 于 2014-6-9 16:53 编辑

原理图的电磁溢流阀(右上角4个元件)设计较完善,简介如下:
1,主阀采用了压力超调性能良好的1:1压力插件;
2,右上角第二个元件缓冲器用于降低卸载速度,减小液压冲击;
3,采用了阀芯开口量可调的二位四通电磁换向阀,用于提高加载速度(响应速度),提高效率。
回复

使用道具 举报

  • 打卡等级:无名新人
  • 打卡总天数:1
  • 打卡总奖励:10
 楼主| 发表于 2014-6-9 14:57:22 | 显示全部楼层
液压工兵 发表于 2014-6-9 13:26
我帮你说明一下:
图中82是一个截止阀,在维修时,关闭它,不需要放空油箱里的油;
91是一段软管;

谢谢您,还想请教您的是80里的二位二通换向阀在原理图中起什么作用?80中弹簧腔上的节流孔又起什么作用?还有就是90有什么用?
回复

使用道具 举报

  • 打卡等级:无名新人
  • 打卡总天数:1
  • 打卡总奖励:10
 楼主| 发表于 2014-6-9 15:11:05 | 显示全部楼层
zzfjct 发表于 2014-6-9 13:57
原理图的电磁卸荷溢流阀(右上角4个元件)设计较完善,简介如下:
1,主阀采用了压力超调性能良好的1:1压 ...

请教一下,二位四通电磁换向阀如何可以提高加载速度呢?您说的右上角第二个元件是不是80里的二位二通阀?这个二位二通阀什么时候会打到节流位置?在80里最下面的两个节流孔为什么要有呢?没有节流孔不行嘛?
回复

使用道具 举报

  • 打卡等级:初来乍到
  • 打卡总天数:31
  • 打卡总奖励:86
发表于 2014-6-12 15:59:56 | 显示全部楼层
80是一个2通插件及盖板组成的电磁溢流阀,其中的电磁换向阀相当于普通板式电磁溢流阀中的电磁阀,本系统中此阀得电升压,失电卸荷
回复

使用道具 举报

  • 打卡等级:初来乍到
  • 打卡总天数:45
  • 打卡总奖励:165
发表于 2014-6-15 19:48:14 | 显示全部楼层
液压工兵 发表于 2014-6-9 13:26
我帮你说明一下:
图中82是一个截止阀,在维修时,关闭它,不需要放空油箱里的油;
91是一段软管;

是这个么一味道..........
回复

使用道具 举报

  • 打卡等级:初来乍到
  • 打卡总天数:45
  • 打卡总奖励:165
发表于 2014-6-15 19:57:33 | 显示全部楼层
笑轻尘998 发表于 2014-6-9 14:57
谢谢您,还想请教您的是80里的二位二通换向阀在原理图中起什么作用?80中弹簧腔上的节流孔又起什么作用? ...

个人浅:80相当于一个卸荷电磁阀,不通电泵卸荷以最低的压力输出,如果通电,阀关闭系统大压力由溢流阀设定现:7.8MPA.弹簧腔上的节流孔减小液压冲击力.还有那个90是保护压力表的,起到压力油绶冲.
回复

使用道具 举报

您需要登录后才可以回帖 登录 | 立即注册

本版积分规则