设为首页
收藏本站
所有帖子
关于我们
联系我们
微信群
开启辅助访问
搜索
搜索
本版
用户
门户
Portal
资讯
液压资讯
观点
观点
产品
液压产品
技术
液压技术
合集
导读
Guide
下载
签到
金币
论坛
BBS
登录
立即注册
腾讯QQ
账号
自动登录
找回密码
密码
登录
立即注册
只需一步,快速开始
好友
动态
收藏
分享
帖子
日志
记录
相册
留言板
勋章
任务
道具
设置
退出
液压圈
»
论坛
›
液压元件
›
液压多路阀
›
力士乐4WE10方向阀卸油口
负载敏感资料下载
|
液压培训资料下载
|
液压样本下载
|
AMESim资料下载
|
力士乐资料下载
|
挖掘机资料下载
|
标准资料下载
|
多路阀资料下载
返回列表
查看:
5613
|
回复:
3
力士乐4WE10方向阀卸油口
[复制链接]
dragon韩
dragon韩
当前离线
积分
222
注册时间
2011-7-17
最后登录
1970-1-1
IP卡
狗仔卡
发表于 2015-4-17 10:05:45
|
显示全部楼层
|
阅读模式
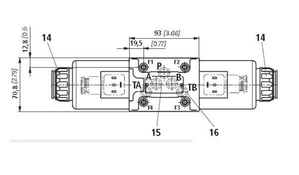
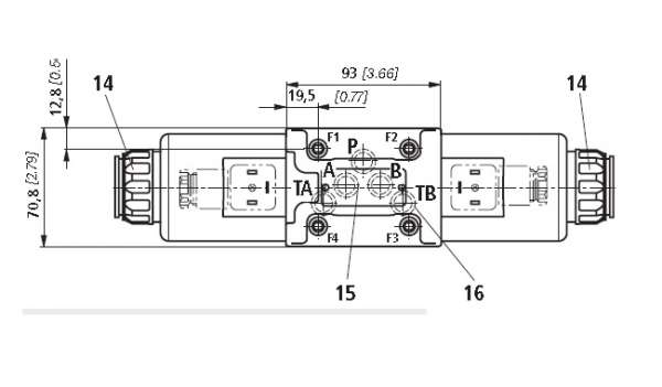
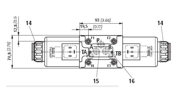
请教在设计阀板的时候,如图所示卸油口TA,TB是两个都需要接回油箱,还是其中一个接就好?只是TB接油箱行不行?
力士乐4WE10方向阀卸油口
回复
使用道具
举报
提升卡
置顶卡
变色卡
18665486806
18665486806
当前离线
积分
249
注册时间
2014-3-14
最后登录
1970-1-1
IP卡
狗仔卡
打卡等级:即来则安
打卡总天数:236
打卡总奖励:1098
发表于 2015-4-17 10:29:16
|
显示全部楼层
其中的随便一个都可以
回复
使用道具
举报
xiao70ni8
xiao70ni8
当前离线
积分
190
注册时间
2012-8-23
最后登录
1970-1-1
IP卡
狗仔卡
打卡等级:偶尔看看
打卡总天数:61
打卡总奖励:386
发表于 2015-4-17 11:54:34
|
显示全部楼层
随便一个 那个方便用哪个
回复
使用道具
举报
KAVL
KAVL
当前离线
积分
86
注册时间
2015-2-26
最后登录
1970-1-1
IP卡
狗仔卡
打卡等级:偶尔看看
打卡总天数:154
打卡总奖励:760
发表于 2015-4-17 13:54:03
|
显示全部楼层
两个是通的,接那个都一样
回复
使用道具
举报
返回列表
高级模式
B
Color
Image
Link
Quote
Code
Smilies
您需要登录后才可以回帖
登录
|
立即注册
本版积分规则
发表回复
回帖后跳转到最后一页
浏览过的版块
液压油缸
供求信息
液压电磁阀
工程机械
AMESim
快速回复
返回顶部
返回列表