搜索
汉力达液压金币充值官方微信群液压资料下载
查看: 10649|回复: 18

插装阀卡死问题!

    [复制链接]
  • 打卡等级:无名新人
  • 打卡总天数:2
  • 打卡总奖励:13
发表于 2015-8-14 06:23:32 | 显示全部楼层 |阅读模式
请教大家一个问题,螺纹插装阀长时间不用,里面油干了导致卡死怎么处理,有没有喷剂可以松动阀芯的,是个电磁换向阀,或者有别的方法可以解决这种问题,急!
发表于 2015-8-14 07:05:09 来自手机 | 显示全部楼层
试试松锈大王
回复

使用道具 举报

  • 打卡等级:初来乍到
  • 打卡总天数:38
  • 打卡总奖励:275
发表于 2015-8-14 07:23:14 | 显示全部楼层
wd40
回复

使用道具 举报

  • 打卡等级:初来乍到
  • 打卡总天数:58
  • 打卡总奖励:171
发表于 2015-8-14 07:51:36 | 显示全部楼层
不错
回复

使用道具 举报

  • 打卡等级:伴坛终老
  • 打卡总天数:2537
  • 打卡总奖励:6369
发表于 2015-8-14 08:14:39 | 显示全部楼层
估计密封都坏了
回复

使用道具 举报

发表于 2015-8-14 13:19:28 | 显示全部楼层

回复

使用道具 举报

  • 打卡等级:即来则安
  • 打卡总天数:206
  • 打卡总奖励:631
发表于 2015-8-14 15:51:51 | 显示全部楼层
是不是已经放了好几年不用了才能干掉。。。
回复

使用道具 举报

  • 打卡等级:无名新人
  • 打卡总天数:2
  • 打卡总奖励:13
 楼主| 发表于 2015-8-21 17:56:31 | 显示全部楼层
wydabl 发表于 2015-8-14 15:51
是不是已经放了好几年不用了才能干掉。。。

是保存一年了,刚存起来的时候也是有液压油的,时间长了就干了,那请问这种阀应该怎么保存才能在从新使用的时候动作正常,您的经验是什么。
回复

使用道具 举报

  • 打卡等级:无名新人
  • 打卡总天数:2
  • 打卡总奖励:13
 楼主| 发表于 2015-8-21 18:41:13 | 显示全部楼层
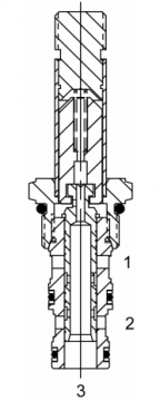
这个阀已经修好了,现在说一下我们的处理方案    IMG_20150819_194133_HDR.jpg           IMG_20150819_194244_HDR.jpg

问题描述:电磁阀通电没动作,然后拆开阀套和阀杆检查,发现阀芯卡在阀套中间动不了。
第一步,用煤油浸泡一晚上,第二天再试还是不能动作,
第二步,大家推荐用除锈剂,但是感觉阀芯应该是特殊处理过(样本写明经过沾火,寿命长)表面粗糙度,硬度应该都很高,不易生锈,而且阀芯和阀套之间无密封圈所以,决定来硬的,从3位置轻敲阀芯,果然有效 捕获.PNG
第三步,拆下来的阀芯和阀套运动不畅,煤油清洗一下再多运动几次,明显顺畅很多,(整个过程没有发现明显异物和阀芯表面划伤)。
虽然现在可以正常工作了,但是还是有很多疑问,1,这种长时间保存(半年?一年?)的阀,怎么保存效果更好,可以从新用时不出问题,或者从设计角度尽量延长无动作保存时间。
2,有制造阀经验的同行,可不可以分享一下阀的个零件的工艺,
3,怎么拆插装阀,这个阀还好,简单可以拆开,有些复杂的,或者根本就不能让你拆的,大家都怎么处理的。


回复

使用道具 举报

  • 打卡等级:无名新人
  • 打卡总天数:2
  • 打卡总奖励:13
 楼主| 发表于 2015-8-21 18:43:59 | 显示全部楼层

前几天出差了,今天刚回来,大家都来讨论讨论
回复

使用道具 举报

您需要登录后才可以回帖 登录 | 立即注册

本版积分规则