- 积分
- 1200
- 注册时间
- 2015-12-12
- 最后登录
- 1970-1-1
|

楼主 |
发表于 2016-4-22 12:54:22
|
显示全部楼层
本帖最后由 十年误国 于 2016-4-22 13:02 编辑
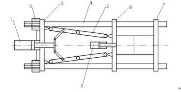
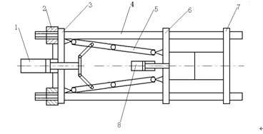
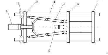
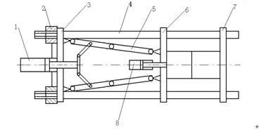
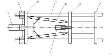
实际上呢,曲臂未必优于液压机,液压机倒没什么问题,而这个曲臂,机械太复杂,还要附属润滑系统,机械磨损和变形都比较严重,一但两曲臂长度不一(孔变形或板子变形),机器寿命也就到了。
只是呢,压铸机行业当时要装逼,不能把机器做成半台液压机,这个液压机还是比较低端货一点的。
后来呢,这套曲臂被注塑界的人抄去了,有了注塑机。几十年来,曲臂在压铸机行业的应用有很多缺点,在注塑机行业的问题更严重些,因为打有些塑料件,象电脑的塑料屏了,尺寸精度要求高,曲臂合模导至模具受力不均,反正我也搞不清注塑机行业的那点装逼说法,就是曲臂不能满足他们对高端零件精度的要求,很多厂家又改回液压机,叫直压机。
直压机用着也还不错,比曲臂机强。但是呢,你再没问题,也容易被人说成大缸机,就是低端的意思,所以压铸机行业没一家敢把曲臂机改成大缸机的。但曲臂机现存的问题怎么办,西方压铸机和注塑机界早在六十年代,就搞出了种种非液压机的扩力机构,其中最好的一种叫两板机。
就是把液压机的一个大缸,拆成四个小缸,这四个小缸把四根大杠当成活塞杆。先用另外的小缸把动模板推到位,然后用卡锁机构把大杠和动模板连成一起,这时四个缸拉四个大杠,就相当于拉了动模板,这样产生合模力。
其特点是,把液压机的大缸,大大截短(四个合模缸只在模具合到位时才拉大杠,所以没什么行程,缸很短),不费油,也不太费钢材。缺点是,液压太复杂,曲臂机只有一个合模缸,两板机闹了十个液压缸(拉大杠的四个缸,推动模板的两个缸,驱卡锁的四个缸),而且同步性太差,十个缸分三组分别运动,开模时再反着来一遍。搞得不如液压机,弊大于利。利就是把大液压缸大大改小了,弊就是复杂了器件和动作。
所以所谓两板机,只用在一千吨以上的大型注塑机上,因为大机器工作频率低,这种结构和动作皆复杂的机构,不适用于高频率工况。两板机在六十年代就搞出来了,一度沉寂,但近十几年来,两板机在注塑机行业大兴,略大一点的注塑机厂在大吨位上都有两板机。 因为这个扩力机构是不好搞的,尤其是成功的扩力机构,现在超不出六十年代的水平一点都不奇怪。
这就是我们坚持不液压机化的光荣历史,哪怕搞得还不如液压机。(国内也没有几个人知道两板机不及液压机的,甚至曲臂机不及液压机,因为技术潮流都由西方引导,国内只会跟风)。 因为我们要装逼,要维持液压机两倍的售价,特别是压铸机,技术含量比注塑机要高,更不能液压机化。
|
-
-
|