搜索
汉力达液压金币充值官方微信群液压资料下载
查看: 5704|回复: 7

谁家生产DN10叠加式抗衡阀?

[复制链接]
  • 打卡等级:偶尔看看
  • 打卡总天数:144
  • 打卡总奖励:368
发表于 2016-9-14 16:55:23 | 显示全部楼层 |阅读模式
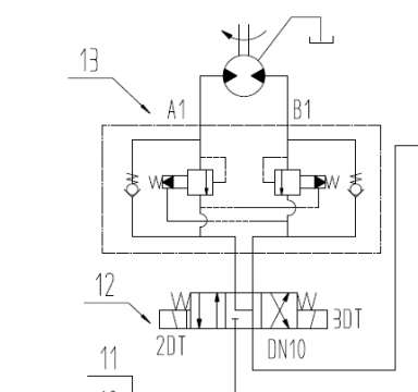
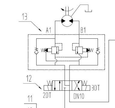
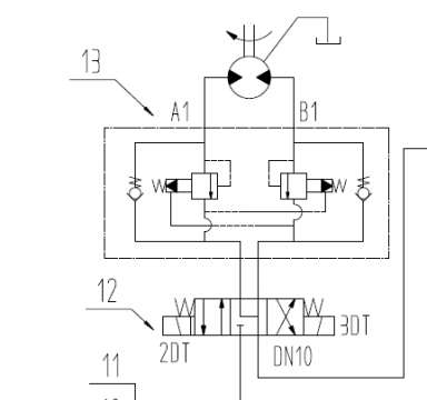
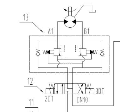
谁家生产DN10叠加式抗衡阀?原理图见附件

谁家生产DN10叠加式抗衡阀?

谁家生产DN10叠加式抗衡阀?
  • 打卡等级:初来乍到
  • 打卡总天数:31
  • 打卡总奖励:86
发表于 2016-9-15 09:53:25 | 显示全部楼层
我公司有,需要多少个,请联系我们,020-86033172
回复

使用道具 举报

  • 打卡等级:即来则安
  • 打卡总天数:220
  • 打卡总奖励:642
发表于 2016-9-16 21:32:29 | 显示全部楼层
这种阀很普遍,找德国战车吧。
回复

使用道具 举报

  • 打卡等级:无名新人
  • 打卡总天数:4
  • 打卡总奖励:8
发表于 2016-9-18 00:14:01 | 显示全部楼层
我这里有,QQ301087309
回复

使用道具 举报

  • 打卡等级:偶尔看看
  • 打卡总天数:144
  • 打卡总奖励:368
 楼主| 发表于 2016-9-19 02:58:49 | 显示全部楼层
德国战车 发表于 2016-9-15 09:53
我公司有,需要多少个,请联系我们,020-86033172

能报一下公司名称吗?
回复

使用道具 举报

  • 打卡等级:偶尔看看
  • 打卡总天数:74
  • 打卡总奖励:217
发表于 2017-2-7 20:11:39 | 显示全部楼层
这个好像是马达专用的溢流阀。
回复

使用道具 举报

  • 打卡等级:以坛为家
  • 打卡总天数:764
  • 打卡总奖励:2260
发表于 2017-3-2 21:51:32 | 显示全部楼层
SUN,PARKER,伊顿,bucher都有
回复

使用道具 举报

  • 打卡等级:偶尔看看
  • 打卡总天数:144
  • 打卡总奖励:368
 楼主| 发表于 2017-3-30 20:38:44 | 显示全部楼层
是马达专用的溢流阀
回复

使用道具 举报

您需要登录后才可以回帖 登录 | 立即注册

本版积分规则