搜索
金币充值液压资料下载官方微信群
楼主: 三年

回路动作异常 请教什么原因?

  [复制链接]
  • 打卡等级:即来则安
  • 打卡总天数:186
  • 打卡总奖励:554
发表于 2014-1-6 12:27:15 | 显示全部楼层
减压阀让一部分油液回油箱了,所以速度会变慢,减压阀全部拧死,泵出油全部进油缸,速度最快
回复

使用道具 举报

  • 打卡等级:无名新人
  • 打卡总天数:2
  • 打卡总奖励:5
发表于 2014-1-6 18:38:32 | 显示全部楼层
调不合适。测压点在阀后
回复

使用道具 举报

  • 打卡等级:即来则安
  • 打卡总天数:186
  • 打卡总奖励:554
发表于 2014-1-7 17:31:40 | 显示全部楼层
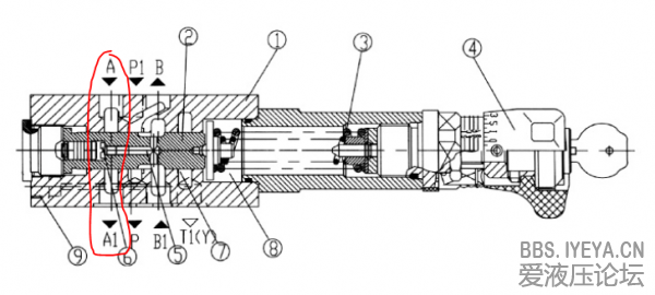
上面点评我回复的“吸铁石”兄弟,看看这个
我认为A到A1是直接连通的
1.PNG
2.PNG

点评

我误以为你说的直通是,反向:B1口——》B口直通,居然不是,我眼神越觉得差了,让多霾给碜了  发表于 2014-1-7 19:52
回复

使用道具 举报

  • 打卡等级:论坛老炮
  • 打卡总天数:1309
  • 打卡总奖励:2064
发表于 2014-1-7 18:16:09 来自手机 | 显示全部楼层
本帖最后由 qqqqqqwwww 于 2014-1-7 19:07 编辑
fkccc123 发表于 2014-1-7 17:31
上面点评我回复的“吸铁石”兄弟,看看这个
我认为A到A1是直接连通的


B口减压,反向也可通油,但又节流损失,A与A1是直通,p与p1直通,若不相通,换向功能怎么实现?

点评

此阀正向即:B口——》B1口是正常减压,反向:B1口——》B口,但B1口压力受外力影响超过设定值时只会向T口通油,的确如你猜测的相当于溢流阀,它这是是B型的,常见的是P型的  发表于 2014-1-7 20:08
回复

使用道具 举报

  • 打卡等级:即来则安
  • 打卡总天数:186
  • 打卡总奖励:554
发表于 2014-1-7 20:45:18 | 显示全部楼层
qqqqqqwwww 发表于 2014-1-7 18:16
B口减压,反向也可通油,但又节流损失,A与A1是直通,p与p1直通,若不相通,换向功能怎么实现?

我觉得你还是理解的跟我不一样,其实这几个阀是叠加在一起的,所以一个方向油从B-B1,换向后,油是走A-A1通道的,所以反向是直通的,没有很大的节流

点评

对,是我想错了,两个方向B-B1都有节流。另外我也不是专家******  发表于 2014-1-8 21:19
专家也和调起来了,表要弄白相哉,无论换哪个方向,对这个油缸来说总是有一进一出,进没有节流,那回油呢,难道也跟油箱是直通的  发表于 2014-1-8 11:30
回复

使用道具 举报

  • 打卡等级:论坛老炮
  • 打卡总天数:1309
  • 打卡总奖励:2064
发表于 2014-1-8 08:36:59 来自手机 | 显示全部楼层
假设B口减压到液压缸活塞端,杆端油经A腔回T口,这时换向阀换向,p到A口到杆端,活塞端油经减压阀到B口到T口,减压阀阀口不产生节流么,能不产生背压?所以应该为反向带单向阀的减压阀。
回复

使用道具 举报

  • 打卡等级:即来则安
  • 打卡总天数:186
  • 打卡总奖励:554
发表于 2014-1-8 21:21:01 | 显示全部楼层
qqqqqqwwww 发表于 2014-1-8 08:36
假设B口减压到液压缸活塞端,杆端油经A腔回T口,这时换向阀换向,p到A口到杆端,活塞端油经减压阀到B口到T口,减 ...

恩,是我想错了,一个方向进油节流,一个方向回油节流。
但是楼主的问题是怎么解的??
回复

使用道具 举报

  • 打卡等级:即来则安
  • 打卡总天数:186
  • 打卡总奖励:554
发表于 2014-1-8 21:47:21 | 显示全部楼层
qqqqqqwwww 发表于 2014-1-8 08:36
假设B口减压到液压缸活塞端,杆端油经A腔回T口,这时换向阀换向,p到A口到杆端,活塞端油经减压阀到B口到T口,减 ...

不会就是因为测压点位置错误,结果减压阀没调好??
回复

使用道具 举报

  • 打卡等级:论坛老炮
  • 打卡总天数:1309
  • 打卡总奖励:2064
发表于 2014-1-8 21:56:00 | 显示全部楼层
fkccc123 发表于 2014-1-8 21:47
不会就是因为测压点位置错误,结果减压阀没调好??

他的这个问题其实就是减压阀设定压力低的缘故,其他地方没故障。
回复

使用道具 举报

  • 打卡等级:即来则安
  • 打卡总天数:186
  • 打卡总奖励:554
发表于 2014-1-8 22:04:50 | 显示全部楼层
qqqqqqwwww 发表于 2014-1-8 21:56
他的这个问题其实就是减压阀设定压力低的缘故,其他地方没故障。

好吧,我还以为原理图的测压点只是画错了位置,实际系统是对的呢。。。。
回复

使用道具 举报

您需要登录后才可以回帖 登录 | 立即注册

本版积分规则