设为首页
收藏本站
所有帖子
关于我们
联系我们
微信群
开启辅助访问
搜索
搜索
本版
用户
门户
Portal
资讯
液压资讯
观点
观点
产品
液压产品
技术
液压技术
合集
导读
Guide
下载
签到
金币
论坛
BBS
登录
立即注册
腾讯QQ
账号
自动登录
找回密码
密码
登录
立即注册
只需一步,快速开始
好友
动态
收藏
分享
帖子
日志
记录
相册
留言板
勋章
任务
道具
设置
退出
液压圈
»
论坛
›
液压系统
›
AMESim
›
谁知道为什么在AMESIM与MATLAB里画BODE图,为什么不一样 ...
负载敏感资料下载
|
液压培训资料下载
|
液压样本下载
|
AMESim资料下载
|
力士乐资料下载
|
挖掘机资料下载
|
标准资料下载
|
多路阀资料下载
返回列表
查看:
4556
|
回复:
2
谁知道为什么在AMESIM与MATLAB里画BODE图,为什么不一样
[复制链接]
lyc
lyc
当前离线
积分
86
注册时间
2012-7-10
最后登录
1970-1-1
IP卡
狗仔卡
发表于 2013-3-26 17:06:30
|
显示全部楼层
|
阅读模式
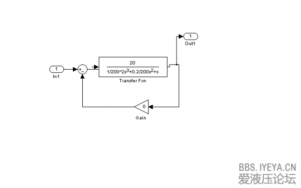
谁知道为什么在
AMESim
与MATLAB里画BODE图,为什么不一样,总是频率差,具体见图
有谁能告诉我,是不是AMESIM的设置有问题。
频率
相关帖子
.
moog伺服阀的频率响应曲线图含义
.
平衡阀的固有频率
.
比例阀的需求频率?
.
AME
.
AME信号源设置
.
多路阀PWM程序频率和阀体本身的震颤频率之间的关系
.
控制高手指教—闭环控制系统频率域分析
回复
使用道具
举报
提升卡
置顶卡
变色卡
wangwen5955
wangwen5955
当前离线
积分
754
注册时间
2013-1-4
最后登录
1970-1-1
IP卡
狗仔卡
发表于 2013-3-26 19:20:13
|
显示全部楼层
你好,可能有以下原因:
1.二者设置的参数不一样,你再确认一下;
2.仿真使用的求解器不一样;
3.仿真步长不一样。
回复
使用道具
举报
lyc
lyc
当前离线
积分
86
注册时间
2012-7-10
最后登录
1970-1-1
IP卡
狗仔卡
楼主
|
发表于 2013-3-27 10:09:41
来自手机
|
显示全部楼层
我就是按照默认设置,请问怎么设置才能跟matlab一样!
回复
使用道具
举报
返回列表
高级模式
B
Color
Image
Link
Quote
Code
Smilies
您需要登录后才可以回帖
登录
|
立即注册
本版积分规则
发表回复
回帖后跳转到最后一页
浏览过的版块
测试技术
快速回复
返回顶部
返回列表