搜索
汉力达液压金币充值官方微信群液压资料下载
查看: 10221|回复: 24

谁能说说这个液压系统都有哪些问题?

  [复制链接]
  • 打卡等级:初来乍到
  • 打卡总天数:32
  • 打卡总奖励:102
发表于 2015-11-20 15:53:33 | 显示全部楼层 |阅读模式
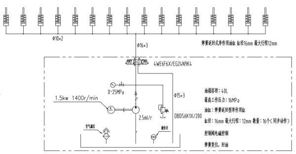
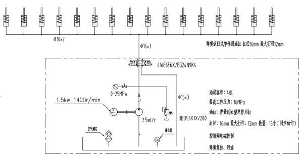
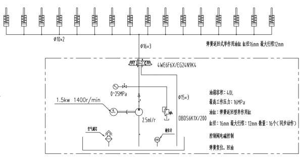
请教大家看看这个系统都有哪些问题?

谁能说说这个液压系统都有哪些问题?

谁能说说这个液压系统都有哪些问题?
  • 打卡等级:初来乍到
  • 打卡总天数:32
  • 打卡总奖励:102
 楼主| 发表于 2015-11-20 17:03:54 | 显示全部楼层
请大家多多指教!
回复

使用道具 举报

  • 打卡等级:偶尔看看
  • 打卡总天数:67
  • 打卡总奖励:209
发表于 2015-11-20 19:41:20 | 显示全部楼层
几个缸同步是靠机械刚性同步吗?
回复

使用道具 举报

  • 打卡等级:初来乍到
  • 打卡总天数:44
  • 打卡总奖励:323
发表于 2015-11-20 20:14:25 | 显示全部楼层
负载率高的话,可能要考虑发热的问题。
回复

使用道具 举报

  • 打卡等级:即来则安
  • 打卡总天数:206
  • 打卡总奖励:631
发表于 2015-11-20 21:53:10 | 显示全部楼层
过滤器呢????
回复

使用道具 举报

  • 打卡等级:初来乍到
  • 打卡总天数:32
  • 打卡总奖励:102
 楼主| 发表于 2015-11-21 07:50:03 | 显示全部楼层
GUOXIUQIN 发表于 2015-11-20 19:41
几个缸同步是靠机械刚性同步吗?

不是,都是单独安装的,依你之见同步精度能达到多少?
回复

使用道具 举报

  • 打卡等级:初来乍到
  • 打卡总天数:32
  • 打卡总奖励:102
 楼主| 发表于 2015-11-21 07:55:09 | 显示全部楼层
wydabl 发表于 2015-11-20 21:53
过滤器呢????

过滤器的问题确实是欠考虑了,多谢提醒 {:9_237:}
回复

使用道具 举报

  • 打卡等级:偶尔看看
  • 打卡总天数:144
  • 打卡总奖励:368
发表于 2015-11-21 12:02:19 | 显示全部楼层
回油管有点细,比出油管还细,要计算一下,主要考虑回程速度
回复

使用道具 举报

  • 打卡等级:无名新人
  • 打卡总天数:7
  • 打卡总奖励:20
发表于 2015-11-21 12:57:24 | 显示全部楼层
看你这个原理用不着三位四通阀啊
回复

使用道具 举报

  • 打卡等级:无名新人
  • 打卡总天数:7
  • 打卡总奖励:20
发表于 2015-11-21 13:00:52 | 显示全部楼层
回油管不需要三个厚
回复

使用道具 举报

您需要登录后才可以回帖 登录 | 立即注册

本版积分规则